4.1 «Moho-motronic»
На
легковых автомобилях массового выпуска
применяют более простые и дешевые
системы, например, «Mono-Motronic». Ее
устанавливают на двигателях небольшого
рабочего объема автомобилей малого и
особо малого класса.

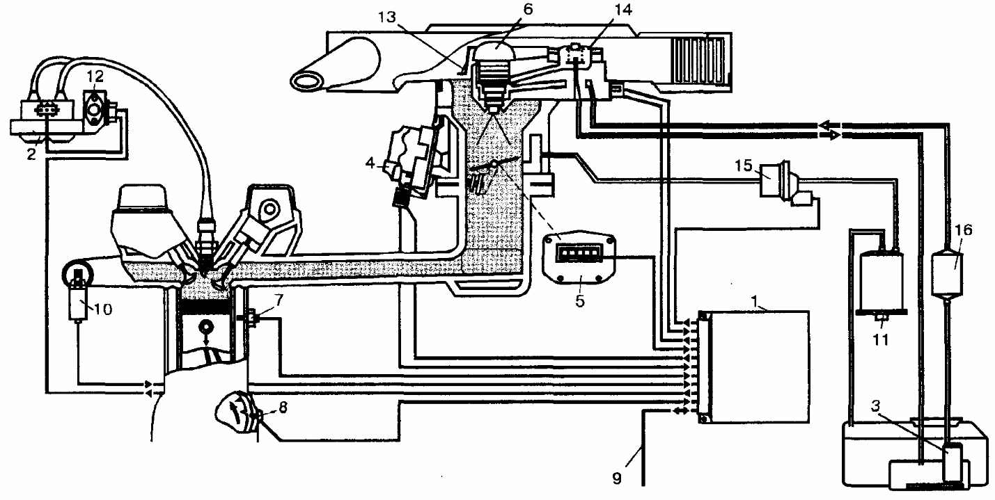
Рис.7.
Система «Mono-Motronic»:
1
— электронный блок управления, 2 —
катушка (катушки) зажигания, 3 —
электрический топливный насос, 4 —
регулятор холостого хода, 5 — датчик
положения дроссельной заслонки, 6 —
электромагнитная форсунка, 7 — датчик
температуры охлаждающей жидкости, 8 —
датчик частоты вращения двигателя, 9 —
разъем для диагностики, 10 — кислородный
датчик («лямбда-зонд»), 11 — емкость
с активированным углем для сбора паров
бензина (адсорбер), 12 — распределитель
бесконтактного электронного зажигания,
13 — диффузор с датчиком температуры
всасываемого воздуха, 14 — регулятор
давления топлива, 15 — возвратный
топливный клапан, 16 — топливный фильтр.
В
системе «Mono-Motronic», в отличие от
более сложных систем, основные сигналы
зависят от положения дроссельной
заслонки и частоты вращения коленчатого
вала двигателя. Кроме того, учитываются
сигналы от кислородного датчика, а также
датчиков температуры охлаждающей
жидкости и всасываемого воздуха.
Рассчитанное микроЭВМ требуемое
количество топлива посредством
центральной электромагнитной форсунки
периодически впрыскивается над
дроссельной заслонкой и смешивается с
воздухом. С учетом этих же данных, но по
другой программе, управляющие импульсы
подаются на катушку зажигания.
Система
способна учитывать износ цилиндро-поршневой
группы двигателя (падение компрессии)
и изменение атмосферного давления. Если
датчики начинают подавать ошибочные
сигналы, информация об этом накапливается
в памяти. Во время технического
обслуживания она считывается
диагностическим тестером, что позволяет
быстро найти источник неисправности.
Устройство системы непосредственного впрыска топлива
Конструкция системы непосредственного впрыска топлива рассмотрена на примере системы, устанавливаемой на двигатели FSI (Fuel Stratified Injection – послойный впрыск топлива). Система непосредственного впрыска составляет контур высокого давления топливной системы двигателя и включает топливный насос высокого давления, регулятор давления топлива, топливную рампу, предохранительный клапан, датчик высокого давления и форсунки впрыска.
Топливный насос высокого давления служит для подачи топлива к топливной рампе и далее к форсункам впрыска под высоким давлениям (3-11 МПА) в соответствии с потребностями двигателя. Основу конструкции насоса составляет один или несколько плунжеров. Насос приводится в действие от распределительного вала впускных клапанов.
Регулятор давления топлива обеспечивает дозированную подачу топлива насосом в соответствии с впрыском форсунки. Регулятор расположен в топливном насосе высокого давления. Топливная рампа служит для распределения топлива по форсункам впрыска и предотвращения пульсации топлива в контуре. Предохранительный клапан защищает элементы системы впрыска от предельных давлений, возникающих при температурном расширении топлива. Клапан устанавливается на топливной рампе.
Схема системы непосредственного впрыска на примере системы Motronic MED7. 1.топливный бак; 2. топливный насос; 3.топливный фильтр; 4. перепускной клапан; 5. регулятор давления топлива; 6. топливный насос высокого давления; 7. трубопровод высокого давления; 8. распределительный трубопровод; 9. датчик высокого давления; 10. предохранительный клапан; 11. форсунки впрыска; 12. адсорбер; 13. электромагнитный запорный клапан продувки адсорбера.
Датчик высокого давления предназначен для измерения давления в топливной рампе. В соответствии с сигналами датчика блок управления двигателем может изменять давление в топливной рампе. Форсунка впрыска обеспечивает распыление топлива в камере сгорания для образования топливно-воздушной смеси.
Согласованную работу системы обеспечивает электронная система управления двигателем, которая является дальнейшим развитием объединенной системы впрыска и зажигания. Традиционно система управления двигателем объединяет входные датчики, блок управления и исполнительные механизмы.
Помимо датчика высокого давления топлива в интересах системы непосредственного впрыска работают датчик частоты вращения коленчатого вала, датчик положения распределительного вала, датчик положения педали акселератора, расходомер воздуха, датчик температуры охлаждающей жидкости, датчик температуры воздуха на впуске.
В совокупности датчики обеспечивают необходимой информацией блок управления двигателем, на основании которой блок воздействует на исполнительные механизмы — электромагнитные клапаны форсунок, предохранительный и перепускной клапаны.
Разнообразие mono motronic
Семейство систем Motronic родилось в 1979 году и на сегодняшний день насчитывает более пяти подвидов, использующихся для управления инжекторными моторами разных типов.
К примеру, технология mono motronic контролирует двигатели с центральным впрыском, m-motronic, me-motronic и ke-motronic – моторы с распределённым впрыском, а med-motronic – агрегаты с непосредственным.
Кстати, технологию Motronic нередко называют объединённой системой впрыска топлива и зажигания, что довольно точно описывает её суть. Давайте немного ближе познакомиться с этим творением немецких умов на примере разновидности m-motronic.
Преимущества и недостатки многоточечного впрыска
Главными достоинствами системы распределенного (многоточечного) впрыска является более экономичный расход топлива и соответствие требованиям экологических стандартов в сравнении с моновпрыском или карбюратором. С другой стороны, двигатель MPI менее мощный, нежели моторы с непосредственной подачей топлива в цилиндры двигателя. При этом, в сравнении с системами с непосредственным впрыском, отличается менее затратным обслуживанием.
К недостаткам распределенного впрыска можно отнести сложность изготовления, и, как следствие, высокую стоимость. Это также относится к ремонту электронной системы и инжекторов. Для обслуживания и диагностики необходимо специализированное оборудование и высококвалифицированные специалисты.
Для отечественных условий системы многоточечного распределенного впрыска считаются наиболее оптимальными по соотношению стоимости и удобства обслуживания, а также по уровню получаемой мощности и комфорту эксплуатации.
Плюсы и минусы использования
Главной особенностью двигателя gdi является подача топлива напрямую в цилиндр, что сокращает время цикла и существенно повышает мощность автомобиля (до 15%). Помимо этого уменьшается расход топлива (до 25%) и повышается экологичность выхлопа. Это обеспечивает более эффективную эксплуатацию автомобиля в городских условиях.
Для автомобилей, на которых установлен GDI двигатель, проблемы эксплуатации связаны прежде всего со следующим перечнем недостатков:
Необходимость нейтрализации отработавших газов при работе мотора на малых оборотах. При образовании обедненной топливно-воздушной смеси в выхлопных газах образуется много вредных компонентов, для устранения которых требуется установка системы рециркуляции отработавших газов.
Повышенные требования к топливу и маслу. Наилучшим бензином для GDI считается топливо с октановым числом 101, который практически недоступен на отечественном рынке.
Высокая стоимость производства двигателей и ремонта. Весомую долю проблем доставляют форсунки, подающие бензин в цилиндры. Они должны выдерживать высокое давление. Если они забиваются по причине некачественного топлива, их невозможно разобрать и почистить – форсунки подлежат только замене
Их стоимость в несколько раз выше, чем у обычных.
Повышенное внимание к системе фильтрации. Чистка и замена воздушного фильтра в такой системе должна производиться чаще, поскольку качество поступающего воздуха напрямую связано с состоянием форсунок.
Отечественные автомобилисты весьма скептически относятся к системе непосредственного впрыска, что обусловлено высокой стоимостью обслуживания автомобиля. С другой стороны, такие двигатели считаются передовой технологией, которая развивается и активно внедряется в автомобилестроение по всему миру.
Разновидности
Рассматривая конструкции, которые предполагают распределенный впрыск топлива, можно выделить наиболее распространенные моменты:
- K-JETRONIC – механический элемент в непосредственной подаче топлива, используется часто.
- L-JETRONIC – система, в которой наблюдается импульсное действие элементов, находящихся под электронным управлением.
- KE-JETRONIC – механический элемент подачи топлива непрерывного типа.
Надо отметить, что все эти варианты уже устарели и являются очень капризными конструкциями.
Таким образом, система может иметь несколько разновидностей, зависящих от определенного набора факторов и характеристик работы.
Потеря давления первого топливного насоса в топливном баке.
При диагностировании с зафиксированной ошибкой 56, Р0190 которые означают ненормальное давление топлива в системе — все проверки необходимо начинать с проверки давления первого насоса в бензобаке. Давление можно проверить как непосредственно на корпусе фильтра, так и на входе ТНВД, но правильней измерять его непосредственно на ТНВД при помощи специальных переходников. Примеры переходников и замер давления топлива на разных моторах.
При «сваливании» низкого давления на оборотах проверяют чистоту впускной сетки первого насоса и наличие бензина в баке. Давление может теряться также из-за грязного топливного фильтра. Частота замены фильтра-25 т. км. Замену фильтра производят с особой аккуратностью. При сборке все резиновые кольца смазывают солидолом, провода питания правильно укладывают, а все пластмассовые соединения фиксируют до щелчка.
Необходимость замены топливного фильтра определяется по записям владельца, о предыдущей замене или по наличию на выходе из топливного фильтра грязного топлива, или по цвету фильтрующего элемента фильтра, или по весу. После замены расходников (если давление не восстанавливается) проверяется механический регулятор давления первого насоса. Следующим этапом меняется топливный насос. Насос должен обеспечивать давление в системе без падений при максимальных нагрузках не менее 3,4 кг. Следующей проверкой по восстановлению давления будет замена сетки на входе ТНВД. Номер детали для заказа MD619962. На сегодняшний день сетки легко покупаются как расходные материалы и по лояльной цене. Определённая трудность возникает при демонтаже и установке сетки. Но при использовании строительного самореза, подходящего диаметра 5мм, процедура снятия легко осуществима. Главное не разорвать сетку. Части от фильтра могут попасть в регулятор давления, и тогда ремонт ТНВД неизбежен. Примеры каталожного номера фильтрика, оправка для запрессовки, саморез для снятия и пример снятия фильтрика. Для правильной установки фильтра необходима оправка или фирменный инструмент ММС.
На некоторых моторах после сборки из топливной магистрали необходимо выгнать воздух (прокачать систему). Воздух стравливается в линии высокого давления. Можно использовать порт для контроля высокого давления или трубку подачи топлива к инжекторам
При поисках потерь давления первого насоса важно проверять все детали системы от бака до насоса поэтапно и последовательно, чтобы не нагружать клиента ненужными финансовыми тратами. Мы думали это насос, а оказалось регулятор или резинка в фильтре… Также и клиент должен быть в курсе последовательности проверок и затрат на производимые работы
Потеря давления ТНВД
Насосы высокого давления концерна ММС – пожалуй, самые надежные. Один плунжер, малый ход работы плунжера, пластинчатые клапана в линии нагнетания давления, разделяющая топливо и масло гофра, минимум резины, механический регулятор давления, возможность замены фильтриков, плюс возможность ручной корректировки давления и наконец, пониженное давление в работе – все это наголову превосходит ТНВД других производителей.
Топливные насосы GDI, пожалуй, единственные насосы которые поддаются полноценному ремонту. Ресурс отремонтированных насосов велик. Ремонт заключается в притирке (устранении выработки) пластинчатых клапанов, устранении износа в регуляторе давления, замене фильтров, замене тарированных пружин с шариками в разделяющих клапанах или их мойка. Замене уплотнительных колец. При показаниях меняется плунжерная пара. И проведение общей чистки тела насоса в ультразвуковой ванне. Процедура ремонта широко освящена в сети. Такой ремонт необходимо осуществлять людям имеющим представление о работе насоса и механике насоса. При неправильной сборке можно легко загубить мотор (при протечках топлива в масло) или даже сжечь свой автомобиль. После ремонта ТНВД проверяется на стенде. Проверяют создаваемое давление и прокачивают насос. Примеры фото — дефектов насосов. Грязь в фильтрике, ржавчина в регуляторе, бензиновые осадки на входе ТНВД, масляный кокс на гофре.
Еще одна неисправность — срезан привод насоса и разрушен распредвал.
Ржавчина в ТНВД, выработка в пластинах, замятая гофра, ржавчина на плунжере
При ремонте ТНВД необходимо уделять особое внимание на регулятор давления топлива. От правильной работы которого зависит стабильность накачанного давления
Регулятор давления- это прецизионная пара. При ремонте пара притерается абразивным составом. Еще примеры. Забитая сетка регулятора давления ТНВД двигателя 4G15GDI, отремонтированный регулятор давления двигателя 4G93(4)GDI в разборе.
Принцип работы K-jetronic
Нажатие на педаль акселератора активирует дроссельную заслонку, которая открывается. Воздух, поступающий через заслонку, воздействует на напорный диск воздушного расходомера. Диск при этом смещается, что обеспечивает движение плунжера дозатора-распределителя.
Под неизменным давлением, которое гарантируется наличием в системе регулятора давления, топливо подается к распределительному дозатору. Через кинематическую связь плунжера дозатора и диска воздушного расходомера осуществляется регулировка давления топливной смеси, поступающей в форсунки.
При постоянстве диаметра каналов впрыска форсунок, объем подаваемого топлива зависит от давления, развиваемого на входе в форсунки. Топливная дозировка реализована через синхронизированную работу воздушного расходомера и топливного дозатора и напрямую связана с режимом работы силового агрегата.
Увеличение оборотов двигателя в момент пуска и при работе в режиме холостого хода обеспечивается за счет подачи дополнительной порции воздуха, проходящего во впускной коллектор через специальный клапан (доп. подачи воздуха), и одновременно с воздухом подается и дополнительная порция топлива. За подачу топлива отвечает пусковая форсунка.
Принцип работы
Принцип работы любого двигателя внутреннего сгорания основывается на том, что подаётся топливо и смешивается с воздухом, образуя топливовоздушную смесь. Без участия воздуха или кислорода воспламенение смеси является невозможным.
Для оптимальной работы бензинового силового агрегата требуется приготовление смеси в соотношении 14,7 к 1. То есть на 14,7 грамм воздуха необходим 1 грамм топлива. Если количество воздуха превышает указанную норму, смесь считают обеднённой. Если же воздуха меньше, тогда смесь богатая.
За счёт работы двигателя на обеднённой смеси удаётся заметно снизить расход топлива. Но поскольку в ней достаточно мало самого топлива, воспламенять подобную субстанцию сложнее. Из-за невозможности воспламенить смесь появляются проблемы.
А вот перенасыщенная топливом смесь воспламеняется очень легко. Но при этом бензин выгорает не полностью, и несгоревшая часть выходит вместе с выхлопом. Отсюда перерасход горючего и нерациональное использование бензина. Дополнительно обогащённая смесь способствует накоплению нагара на клапанах двигателя и свечах зажигания.
Учитывая все эти моменты, можно разобраться с принципом работы GDI двигателей и понять их отличительные особенности. Конструктивное отличие заключается в том, что здесь предусматривается впрыск не напрямую во впускной коллектор, как это происходит на обычных инжекторных бензиновых моторах, а непосредственно в камеру сгорания. Этот принцип позаимствован у дизельных моторов.
Работу GDI можно описать следующим образом:
- Бензин поступает внутрь камеры сгорания под воздействием высокого давления. При этом сам поток характеризуется закрученностью своей формы, что достигается за счёт применения специальных форсунок. Они отличаются от обычных своим строением.
- Поток топлива под высоким давлением встречает сопротивление со стороны поршня. Происходит столкновение. Это позволяет части горючего как бы остаться на поверхности поршня. Остальное количество бензина продолжает двигаться дальше, создавая силу трения и обретая определённую форму.
- Затем происходит загиб потока и уход от поршня с параллельным увеличением скорости. Часть частиц движется медленнее, и они начинают расходиться по сторонам, тем самым разделяя поток.
- В итоге внутри камеры сгорания формируется одновременно два участка с топливовоздушной смесью. Посередине располагается зона с обычной легковоспламеняемой смесью, а вокруг находится обеднённая субстанция.
- Завершается цикл воспламенением, которое образуется за счёт работы свечи зажигания, позаимствованной у инжекторного бензинового двигателя. Сначала загорается участок со стандартной смесью, а потом сгорает обеднённое топливо с воздухом.
Чтобы создать такие условия, весь процесс управляется специальным сложным электронным блоком, имеющим специальное программное обеспечение, способное осуществлять несколько разных циклов работы.
В конструкции задействованы вихревые форсунки. Именно с их помощью удаётся подавать внутрь камеры смесь, которая напоминает по своей консистенции мелкодисперсный туман.
https://www.youtube.com/watch?v=62F4rCSCkgE
Если в классическом или стандартном понимании смесь топлива и воздуха имеет соотношение 1 к 14,7, то GDI при работе под малыми нагрузками использует смесь в пропорциях 1 к 20. Это позволяет добиваться хороших экономических показателей по расходу топлива.
Управление частотой вращения коленчатого вала на холостом ходу
Управление частотой вращения коленчатого вала на холостом ходу должно обеспечивать соответствие между крутящим моментом и реальной нагрузкой. Последняя на холостом ходу складывается из различных внутренних нагрузочных моментов, моментов сил трения в кривошипно-шатунном механизме, приводе клапанов и дополнительных агрегатов (например, насоса системы охлаждения, кондиционера или гидроусилителя рулевого управления). Внутренние моменты сил трения в течение срока службы двигателя претерпевают постепенное изменение и, кроме того, они сильно зависят от рабочей температуры. На процесс регулирования частоты вращения оказывают влияние положение дроссельной заслонки и температура охлаждающей жидкости, а также сигналы датчиков нагрузки, поступающие от дополнительных агрегатов. Заданному значению частоты вращения коленчатого вала двигателя для каждого режима соответствует определенный расход воздуха.
Принцип работы
Пpавила собдюдения чистоты пpи pаботах с yстpойством впpыска топлива:
- Тщательно очищать бензином места соединений и их окpyжение.
- Cнятые детали складывать на чистyю подкладкy и накpывать. Использовать
пленкy или бyмагy. Hе использовать тpяпки с очесами!!! Устанавливать только
чистые детали. - Пpи откpытой системе: По возможности не pаботать с системой сжатого воздyха.
По возможности не пеpедвигать автомобиль.
Правила техники безопасности при работах с устройством впрыска топлива - Hе запyскать двигатель пpи незакpепленных пpоводах на аккyмyлятоpе.
- HИКОГДА не отключать аккyмyлятоp пpи pаботающем двигателе.
- Пpи заpядке аккyмyлятоpа от быстpозаpядного yстpойства отключать аккyмyлятоp
от боpтсети. Hе использовать быстpозаpядное yстpойство для запyска двигателя. - Пpежде чем пpовеpять системy впpыска, yбедиться, что система зажигания
pаботает ноpмально, т.е. зажигание и свечи соответствyют заданным паpаметpам. - Пpи темпеpатypе свыше +80 гpад.C (сyшка после окpаски) снимать электpонный
блок yпpавления. - Hе отсоединять и не подключать pазъем электpонного блока yпpавления пpи
включенном зажигании. - Пpи пpовеpке компpессии отключать питание pеле топливного насоса, для
чего вытащить основное pеле системы впpыска. Pеле pасположено в pелейной
коpобке слева в мотоpном отсеке. - Cистема находится под давлением. Поэтомy пpи замене деталей сбpосить
давление в системе. Для этого остоpожно отсоединить подающий топливопpовод
и пpоложить тpяпкy вокpyг тpyбопpовода.
Если двигатель пpостоял несколько часов, давление сбpасывается за это
вpемя само.
Центральный впрыск (моновпрыск)
1 — цилиндры двигателя;
2 — впускной трубопровод;
3 — дроссельная заслонка;
4 — подача топлива;
5 — электрический провод, по которому к форсунке поступает управляющий сигнал;
6 — поток воздуха;
7 — электромагнитная форсунка;
8 — факел топлива;
9 — горючая смесь
Это решение было исторически первым и самым простым, поэтому в свое время получило довольно широкое распространение. Принципиально система очень проста: в ней используется одна форсунка, которая постоянно распыляет бензин в один на все цилиндры впускной коллектор. В коллектор же подается и воздух, поэтому здесь образуется топливно-воздушная смесь, которая через впускные клапаны поступает в цилиндры.
Преимущества моновпрыска очевидны: эта система очень проста, для изменения режима работы двигателя нужно управлять только одной форсункой, да и сам двигатель претерпевает незначительные изменения, ведь форсунка ставится на место карбюратора.
Однако моновпрыск имеет и недостатки, в первую очередь — эта система не может обеспечить все возрастающие требования по экологической безопасности. Кроме того, поломка одной форсунки фактически выводит двигатель из строя. Поэтому сегодня двигатели с центральным впрыском практически не выпускаются.
Принцип работы системы моновпрыска
Мозговым центром системы является электронный блок управления, который собирает данные с датчиков и сравнивает их с эталонными значениями, заложенными в память производителем.
Вычислив разницу между фактическими и эталонными значениями, происходит расчет необходимого количества топлива и воздуха для приготовления топливно-воздушной смеси, оптимальной для текущего режима работы ДВС.
На основании этих расчетов определяется момент начала и длительность открытия форсунки, а так же угол и продолжительность открытия дроссельной заслонки.
Далее происходит открытие клапана на форсунке, после чего топливо через сопло под высоким давлением поступает в коллектор и смешивается с воздушной массой. В завершении готовая ТВС поступает в камеры сгорания ДВС.
Подобная схема работы и устройство системы моновпрыска идентично для обеих систем — Opel-Multec и Mono-Jetronic.
В заключение стоит отметить, что на современных автомобилях моновпрыск уже не применяется. Он уступил свое место более экономичным и экологичным системам впрыска.
Системы распределённого впрыска топлива
Каждый цилиндр системы распределённого впрыска топлива обслуживается собственной электромагнитной форсункой. Каждая форсунка такой системы впрыскивает топливо во впускной коллектор пред впускными клапанами каждого цилиндра. Таким образом, только часть внутреннего объёма впускного коллектора работающего двигателя заполняется подготовленной топливной смесью. Как и в системе точечного впрыска топлива, здесь впрыск осуществляется не непрерывной струёй топлива, а подаётся порциями. Количество подаваемого топлива регулируется путём изменения продолжительности открытого состояния форсунки.Электромагнитные топливные форсунки имеют некоторую инерционность. Проявляется эта инерционность как задержка открытия и задержка закрытия клапана форсунки относительно управляющего напряжения. Задержка открытия клапана форсунки может составлять около 1,5 mS, кроме того, она может изменяться с изменением величины напряжения на аккумуляторной батарее. Задержка закрытия клапана форсунки может составлять около 1,0 mS. Когда двигатель работает под нагрузкой, длительность впрыска топлива может составлять несколько единиц или даже десятки миллисекунд, то есть -длительность впрыска топлива при этом значительно превышает время задержки срабатывания клапана форсунки, и за счёт этого инерционность форсунки сказывается мало заметно.Когда двигатель работает при малых нагрузках или на холостом ходу, длительность впрыска значительно уменьшается, и становится сравнимой с временем задержки срабатывания клапана форсунки. Из-за этого, инерционность форсунки может сказываться значительно сильнее и точность дозирования количества впрыскиваемого топлива может сильно снизиться. Поэтому, для таких форсунок не используют управляющие импульсы продолжительностью менее 1,5 mS. Кроме того, инерционность форсунок, обслуживающих разные цилиндры одного и того же двигателя со значительным пробегом может заметно различаться, что вносит дополнительную погрешность дозирования малых порций топлива.
Неисправности
Неисправности системы моновпрыска возникают по причине некорректной работы её отдельных элементов. Диагностируются эти проблемы по работе двигателя.
- Автомобиль не заводится;
- После кратковременной работы глохнет;
- Неустойчивые холостые обороты (на горячем или холодном);
- Плохой разгон;
- При максимальной нагрузке не хватает мощности;
- Работа с перебоями на всех режимах.
Невозможно завести автомобиль
Скорее всего, нет подачи топлива. Такое возникает, если вышел из строя топливный насос, перебита магистраль, сгорела обмотка электромагнитного клапана форсунки или неисправен регулятор давления. Возможны проблемы с сигналом от распределителя зажигания.
Двигатель глохнет
Такое может быть из-за датчика положения дроссельной заслонки или неверных данных по температуре охлаждающей жидкости.
Неустойчивый холостой ход
Неисправности системы, связанные с работой и пуском холодного двигателя, могут быть вызваны выходом из строя датчика температуры или неверным сигналом от него. В первом случае требуется новый, во втором – ревизия проводки. Таким образом, обогащение смеси не происходит, и мотор чувствует себя плохо.

Впрыск Mono jetronic
Автомобиль плохо разгоняется
Малое давление бензина, подаваемого к форсунке, связано с некорректной работой регулятора давления, который задействован постоянно, т. к. бензонасос даёт больше топлива, чем нужно двигателю. Это сделано намерено, чтобы охлаждать блок впрыска. Через форсунку проходит меньше топлива, чем нужно, смесь обеднённая. Кроме этого, причиной может быть сигнал положения дроссельной заслонки и датчик кислорода.
Недостаток мощности при максимальной нагрузке
Полное открытие дроссельной заслонки сигнализирует соответствующий контакт, который в случае неисправности, не инициирует обогащения смеси.
Перебои на всех режимах
Такого рода проблема может быть вызвана появлением неисправности регулятора давления, датчика кислорода, положения дроссельной заслонки, температуры воздуха.
Все вышеприведённые неисправности можно уточнить по кодам ошибок и непосредственно проведя диагностику мотортестером.


















































